简体
繁体
首页
首页
资讯中心
政府信息公开
政务服务
互动交流
信用林业
林长制
林业概况
当前位置:
首页
> 政府信息公开 > 黄山市林业局
>
行政权力运行
>
行政处罚
>
流程图
索
引
号:
003139155/202603-00012
信息分类:
流程图
主题分类:
农业、林业、水利,公民,其他
发文日期:
2026-03-09
发布机构:
黄山市林业局
发布日期:
2026-03-09
生效日期:
有效
废止日期:
发布文号:
无
关
键
词:
内容概述:
有
效
性:
有效
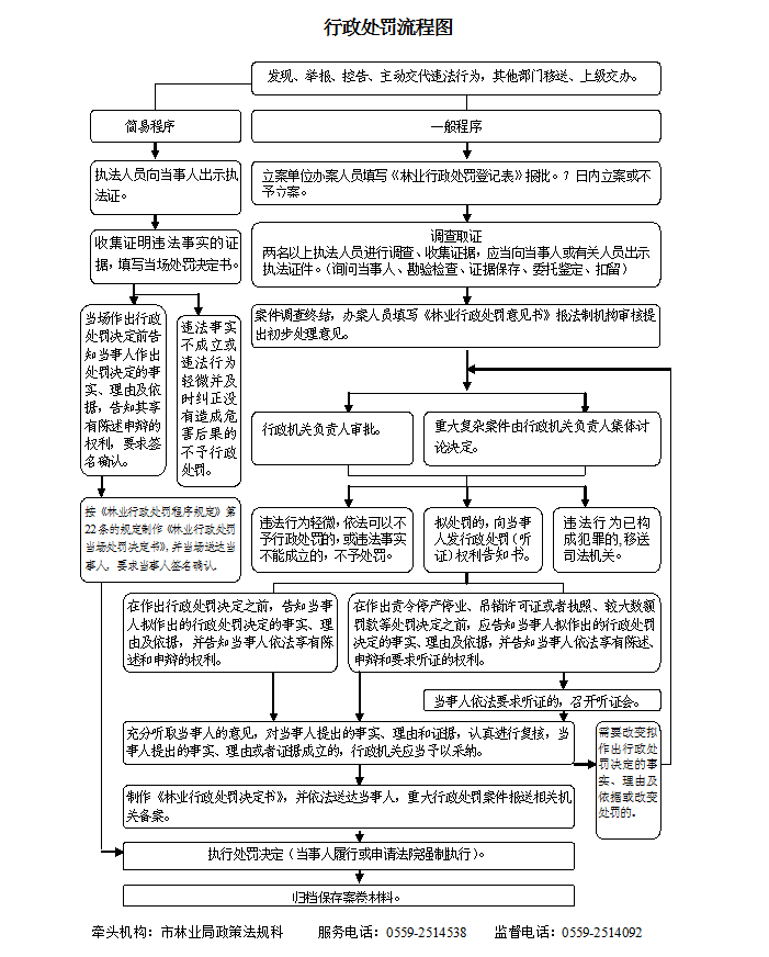
市林业局行政处罚流程图(2025版)
作者:市林业局
发布时间:2026-03-09 16:46
信息来源:黄山市林业局
阅读次数:
次
字号:
大
中
小
文本下载
我要纠错
打印
收藏
扫一扫在手机打开当前页